|
ဖိအား/MPa |
အပူချိန် /°C |
မြန်နှုန်း /m/s |
လတ် |
|
≤40 |
-35~+100 (ကိုက်ညီသော NBR O-rings နှင့်အတူ) |
≤2 |
ဟိုက်ဒရောလစ်ဆီ၊ emulsion၊ ရေ၊ ဓာတ်ငွေ့စသည်တို့။ |
-20~+200 (ကိုက်ညီသော O-rings FKM နှင့်အတူ) |
1. သင့်လျော်သော O-ring ပစ္စည်းများ ပါဝင်သည်- R01 Nitrile Butadiene Rubber (NBR), R02 Fluororubber (FKM) စသည်တို့ဖြစ်သည်။
2. တံဆိပ်ခတ်ထားသော လက်စွပ်ပစ္စည်းများ- Standard ပစ္စည်းများ PTFE3 နှင့် PTFE4; အခြားရွေးချယ်နိုင်သောပစ္စည်းများ PTFE1၊ PTFE2 နှင့် PTFE5 တို့ ပါဝင်သည်။
Ruichen သည် ကုန်ကြမ်း၏အစမှ လွတ်လပ်သော သုတေသနနှင့် ဖွံ့ဖြိုးတိုးတက်ရေးနှင့် ထုတ်လုပ်မှုကို ဆောင်ရွက်ခဲ့ပြီး ထုတ်ကုန်များ၏ ကွင်းဆက်တစ်ခုလုံးကို ထိန်းချုပ်ထားကြောင်း သဘောပေါက်ခဲ့သည်။
1. အင်ဂျင်နီယာ ပလတ်စတစ်များနှင့် ပေါင်းစပ်ပစ္စည်းများ- ကျွန်ုပ်တို့သည် polytetrafluoroethylene (PTFE) ကို ရောစပ်ခြင်း၊ ကြိတ်ခြင်းမှ ပုံသွင်းခြင်းအထိ၊ ဖြည့်စွက်မွမ်းမံထားသော ပေါင်းစပ်ပစ္စည်းများကို ပြွန်နှင့်လှံ အမျိုးမျိုးတို့ကို သီးခြားထုတ်လုပ်ခြင်း နှင့် တိကျစွာ ဖျံများအဖြစ် လုပ်ဆောင်ခြင်းတို့ကို ပင်မအဖြစ် ယူပါသည်။ ၎င်းသည် ပစ္စည်းဂုဏ်သတ္တိများ၏ တည်ငြိမ်မှုနှင့် စိတ်ကြိုက်ပြင်ဆင်နိုင်မှုကို သေချာစေသည်။
2. စွမ်းဆောင်ရည်မြင့် polyurethane elastomer- ကျွန်ုပ်တို့သည် ပရီပိုလီမာပုံသွင်းခြင်းမှ စတင်ကာ အရည်အသွေးမြင့် polyurethane ပိုက်နှင့် လှံတံပစ္စည်းများကို လွတ်လပ်စွာထုတ်လုပ်ကာ ဝတ်ဆင်မှုခံနိုင်ရည်၊ ဖိအားခံနိုင်ရည်နှင့် hydrolysis ခံနိုင်ရည်တို့၌ ထူးထူးခြားခြား အမျိုးမျိုးသော တံဆိပ်များအဖြစ် စီမံဆောင်ရွက်ပါသည်။
မှာယူခြင်းဥပမာ
မှာယူမှုမော်ဒယ် RC2054—80×69×4.2—PTFE3—R01 မော်ဒယ်-D*d*L- ပစ္စည်းကုဒ် မှာယူခြင်းမော်ဒယ် RCX18—80×69x4.2—HPU မော်ဒယ်-D*d*L- ပစ္စည်းကုဒ်
သတ်မှတ်ချက်များနှင့် ကန့်သတ်ချက်များဇယား (ကန့်သတ်ဘောင်အတွင်း မည်သည့်သတ်မှတ်ချက်ကိုမဆို ရနိုင်သည်)
|
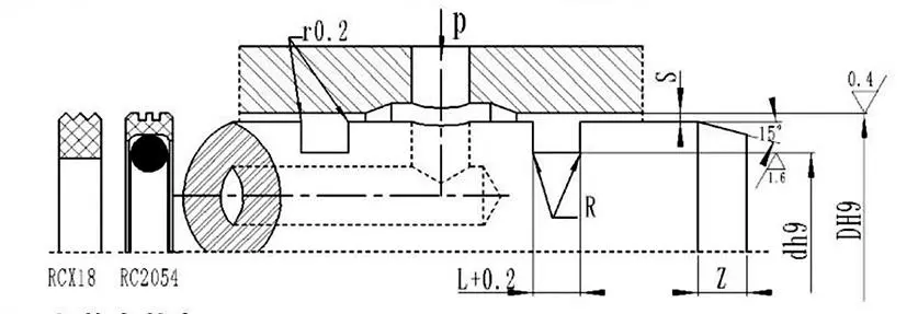
Aperture အပိုင်း DH9 |
ကတုတ်ကျင်းအချင်း dh9 |
ကတုတ်ကျင်းအကျယ် L+0.2 |
Radial clearance Smax |
လုံးဝန်းသောထောင့်များ Rmax |
ချမ်ဖာ Zmin |
|
|
0 ~ 10 Mpa |
10 ~ 20 Mpa |
|||||
|
၈~၃၉ |
D-4.9 |
2.2 |
0.15 |
0.1 |
0.4 |
2 |
|
၄၀~၇၉ |
D-7.5 |
3.2 |
0.2 |
0.15 |
0.6 |
3 |
|
၈၀~၁၃၂ |
D-11.0 |
4.2 |
0.25 |
0.2 |
1.0 |
4 |
|
၁၃၃~၃၂၉ |
D-15.5 |
6.3 |
0.3 |
0.25 |
1.3 |
5 |
|
၃၃၀~၆၆၉ |
D-21.0 |
8.1 |
0.3 |
0.25 |
1.8 |
7 |
|
670~1500 |
D-28.0 |
9.5 |
0.45 |
0.3 |
2.0 |
8 |
|
D |
d |
L |
D |
d |
L |
D |
d |
L |
D |
d |
L |
|
8 |
3.1 |
2.2 |
50 |
42.5 |
3.2 |
170 |
154.5 |
6.3 |
380 |
359.0 |
8.1 |
|
10 |
5.1 |
2.2 |
55 |
47.5 |
3.2 |
180 |
164.5 |
6.3 |
390 |
369.0 |
8.1 |
|
12 |
7.1 |
2.2 |
60 |
52.5 |
3.2 |
190 |
174.5 |
6.3 |
400 |
379.0 |
8.1 |
|
14 |
9.1 |
2.2 |
63 |
55.5 |
3.2 |
200 |
184.5 |
6.3 |
420 |
399.0 |
8.1 |
|
15 |
10.1 |
2.2 |
65 |
57.5 |
3.2 |
210 |
194.5 |
6.3 |
450 |
429.0 |
8.1 |
|
16 |
11.1 |
2.2 |
70 |
62.5 |
3.2 |
220 |
204.5 |
6.3 |
480 |
459.0 |
8.1 |
|
18 |
13.1 |
2.2 |
75 |
67.5 |
3.2 |
230 |
214.5 |
6.3 |
500 |
479.0 |
8.1 |
|
20 |
15.1 |
2.2 |
80 |
69.0 |
4.2 |
240 |
224.5 |
6.3 |
520 |
499.0 |
8.1 |
|
22 |
17.1 |
2.2 |
85 |
74.0 |
4.2 |
250 |
234.5 |
6.3 |
550 |
529.0 |
8.1 |
|
24 |
19.1 |
2.2 |
90 |
79.0 |
4.2 |
260 |
244.5 |
6.3 |
600 |
579.0 |
8.1 |
|
25 |
20.1 |
2.2 |
95 |
84.0 |
4.2 |
270 |
254.5 |
6.3 |
630 |
609.0 |
8.1 |
|
28 |
23.1 |
2.2 |
100 |
89.0 |
4.2 |
280 |
264.5 |
6.3 |
650 |
629.0 |
8.1 |
|
30 |
25.1 |
2.2 |
105 |
94.0 |
4.2 |
290 |
274.5 |
6.3 |
670 |
642.0 |
9.5 |
|
32 |
27.1 |
2.2 |
110 |
99.0 |
4.2 |
300 |
284.5 |
6.3 |
700 |
672.0 |
9.5 |
|
35 |
30.1 |
2.2 |
115 |
104.0 |
4.2 |
310 |
294.5 |
6.3 |
750 |
722.0 |
9.5 |
|
36 |
31.1 |
2.2 |
120 |
109.0 |
4.2 |
320 |
304.5 |
6.3 |
800 |
772.0 |
9.5 |
|
38 |
33.1 |
2.2 |
125 |
114.0 |
4.2 |
330 |
309.0 |
8.1 |
1000 |
972.0 |
9.5 |
|
40 |
32.5 |
3.2 |
130 |
119.0 |
4.2 |
340 |
319.0 |
8.1 |
|
|
|
|
42 |
34.5 |
3.2 |
140 |
124.5 |
6.3 |
350 |
329.0 |
8.1 |
|
|
|
|
45 |
37.5 |
3.2 |
150 |
134.5 |
6.3 |
360 |
339.0 |
8.1 |
|
|
|
|
48 |
40.5 |
3.2 |
160 |
144.5 |
6.3 |
370 |
349.0 |
8.1 |
|
|
|
မှတ်ချက်- လိုအပ်သောသတ်မှတ်ချက်များကို ဤနေရာတွင်ဖော်ပြထားခြင်းမရှိပါ။ ကျေးဇူးပြု၍ ကျွန်ုပ်တို့၏ကုမ္ပဏီကို ဆက်သွယ်ပါ။ ကျွန်ုပ်တို့သည် အများဆုံးအချင်း 2800mm ရှိသော ထုတ်ကုန်များကို ပေးဆောင်ပါသည်။



လိပ်စာ
No.1 Ruichen Road, Dongliuting Industrial Park, Chengyang ခရိုင်, Chengyang ခရိုင်, Chengao City, Shandaong ခရိုင်, Chengyang ခရိုင်
Tel
အီးမေး