|
ဖိအား/MPa |
အပူချိန် /°C |
မြန်နှုန်း /m/s |
လတ် |
|
≤40 |
-35~+100 (NBR O-ring ပါ) |
≤2 |
ဟိုက်ဒရောလစ်ဆီ၊ emulsion၊ ရေ၊ ဓာတ်ငွေ့စသည်တို့။ |
|
-20~+200 (FKM O-ring ပါ) |
1. ရနိုင်သော O-ring ပစ္စည်းများ- R01 Nitrile Butadiene Rubber (NBR), R02 Fluororubber (FKM) စသည်တို့။
2. တံဆိပ်ခတ်ထားသော လက်စွပ်ပစ္စည်းများ- Standard ပစ္စည်းများ PTFE3 နှင့် PTFE4; အခြားရွေးချယ်နိုင်သောပစ္စည်းများ PTFE1၊ PTFE2 နှင့် PTFE5 တို့ ပါဝင်သည်။
မှာယူခြင်းဥပမာ
မှာယူမှုမော်ဒယ် RC2052—80x91×4.2—PTFE3—R01 မော်ဒယ်-dxDxL- ပစ္စည်းကုဒ်
မှာယူမှုမော်ဒယ် RCX17—80x91×4.2—HPU မော်ဒယ်-dxDxL- ပစ္စည်းကုဒ်
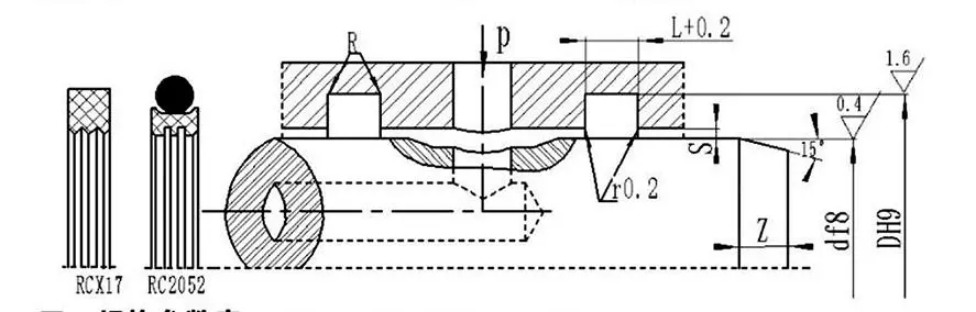
သတ်မှတ်ချက်များနှင့် ကန့်သတ်ချက်များဇယား (ကန့်သတ်ဘောင်အတွင်း မည်သည့်သတ်မှတ်ချက်ကိုမဆို ရနိုင်သည်)
|
ရှပ်အချင်း အပိုင်းအခြား ဃ f8 |
ကတုတ်ကျင်းအချင်း DH9 |
ကတုတ်ကျင်းအကျယ် L+⁰.2 |
Radial clearance Smax |
လုံးဝန်းသောထောင့်များ Rmax |
ချမ်ဖာ Zmin |
|
|
0 ~ 10 Mpa |
10 ~ 20 Mpa |
|||||
|
၆~၁၈ |
ဃ+၄၉ |
2.2 |
0.15 |
0.1 |
0.4 |
2 |
|
၁၉~၃၇ |
d+7.5 |
3.2 |
0.2 |
0.15 |
0.6 |
3 |
|
၃၈~၁၉၉ |
d+11.0 |
4.2 |
0.25 |
0.2 |
1.0 |
4 |
|
၂၀၀~၂၅၅ |
d+15.5 |
6.3 |
0.3 |
0.25 |
1.3 |
5 |
|
၂၅၆~၆၄၉ |
d+21.0 |
8.1 |
0.3 |
0.25 |
1.8 |
7 |
|
650~1500 |
d+28.0 |
9.5 |
0.45 |
0.3 |
2.0 |
8 |
မှတ်ချက်- ရိုးတံအချင်း ≤ 30mm အတွက်၊ ပွင့်နေသော grooves များကို အကြံပြုထားသည်။
|
d |
D |
L |
d |
D |
L |
d |
D |
L |
d |
D |
L |
|
8 |
12.9 |
2.2 |
48 |
59.0 |
4.2 |
150 |
161.0 |
4.2 |
350 |
371.0 |
8.1 |
|
10 |
14.9 |
2.2 |
50 |
61.0 |
4.2 |
160 |
171.0 |
4.2 |
360 |
381.0 |
8.1 |
|
12 |
16.9 |
2.2 |
55 |
66.0 |
4.2 |
170 |
181.0 |
4.2 |
370 |
391.0 |
8.1 |
|
14 |
18.9 |
2.2 |
60 |
71.0 |
4.2 |
180 |
191.0 |
4.2 |
380 |
401.0 |
8.1 |
|
15 |
19.9 |
2.2 |
63 |
74.0 |
4.2 |
190 |
201.0 |
4.2 |
390 |
411.0 |
8.1 |
|
16 |
20.9 |
2.2 |
65 |
76.0 |
4.2 |
200 |
215.5 |
6.3 |
400 |
421.0 |
8.1 |
|
18 |
22.9 |
2.2 |
70 |
81.0 |
4.2 |
210 |
225.5 |
6.3 |
420 |
441.0 |
8.1 |
|
20 |
27.5 |
3.2 |
75 |
86.0 |
4.2 |
220 |
235.5 |
6.3 |
450 |
471.0 |
8.1 |
|
22 |
29.5 |
3.2 |
80 |
91.0 |
4.2 |
230 |
245.5 |
6.3 |
480 |
501.0 |
8.1 |
|
24 |
31.5 |
3.2 |
85 |
96.0 |
4.2 |
240 |
255.5 |
6.3 |
500 |
521.0 |
8.1 |
|
25 |
32.5 |
3.2 |
90 |
101.0 |
4.2 |
250 |
265.5 |
6.3 |
520 |
541.0 |
8.1 |
|
28 |
35.5 |
3.2 |
95 |
106.0 |
4.2 |
260 |
281.0 |
8.1 |
550 |
571.0 |
8.1 |
|
30 |
37.5 |
3.2 |
100 |
111.0 |
4.2 |
270 |
291.0 |
8.1 |
600 |
621.0 |
8.1 |
|
32 |
39.5 |
3.2 |
105 |
116.0 |
4.2 |
280 |
301.0 |
8.1 |
630 |
651.0 |
8.1 |
|
35 |
42.5 |
3.2 |
110 |
121.0 |
4.2 |
290 |
311.0 |
8.1 |
650 |
678.0 |
8.1 |
|
36 |
43.5 |
3.2 |
115 |
126.0 |
4.2 |
300 |
321.0 |
8.1 |
670 |
698.0 |
9.5 |
|
38 |
49.0 |
4.2 |
120 |
131.0 |
4.2 |
310 |
331.0 |
8.1 |
700 |
728.0 |
9.5 |
|
40 |
51.0 |
4.2 |
125 |
136.0 |
4.2 |
320 |
341.0 |
8.1 |
750 |
778.0 |
9.5 |
|
42 |
53.0 |
4.2 |
130 |
141.0 |
4.2 |
330 |
351.0 |
8.1 |
800 |
828.0 |
9.5 |
|
45 |
56.0 |
4.2 |
140 |
151.0 |
4.2 |
340 |
361.0 |
8.1 |
1000 |
1028.0 |
9.5 |
မှတ်ချက်- လိုအပ်သောသတ်မှတ်ချက်များကို ဤနေရာတွင်ဖော်ပြထားခြင်းမရှိပါ။ ကျေးဇူးပြု၍ ကျွန်ုပ်တို့၏ကုမ္ပဏီကို ဆက်သွယ်ပါ။ ကျွန်ုပ်တို့သည် အများဆုံးအချင်း 2800mm ရှိသော ထုတ်ကုန်များကို ပေးဆောင်ပါသည်။





အလုံးစုံတပ်ဆင်ခြင်းနှင့် အသုံးပြုရန် ညွှန်ကြားချက်များ
Rui Chen သည် မှန်ကန်သော တပ်ဆင်မှုသည် ဖျံများ၏ စွမ်းဆောင်ရည် အပြည့်အဝကို သေချာစေရန် ပထမဆုံး လိုအပ်ကြောင်း သိသည်၊ ကျွန်ုပ်တို့သည် ထုတ်ကုန်တစ်ခုစီ၏ အသုံးပြုမှုအတွက် ပြည့်စုံသော လမ်းညွှန်ချက် ပေးမည်၊ အထူးသဖြင့် ရှုပ်ထွေးသော သို့မဟုတ် ပုံမှန်မဟုတ်သော စိတ်ကြိုက်အစိတ်အပိုင်းများ၊ အသေးစိတ် ဂရပ်ဖစ်တပ်ဆင်မှု လမ်းညွှန်ပါရှိသည်။
ဤလမ်းညွှန်ချက်များကို ထည့်သွင်းခြင်းမပြုမီ စစ်ဆေးရေးအချက်များ၊ မှန်ကန်သော တပ်ဆင်မှုအဆင့်များ၊ လိုအပ်သောကိရိယာများနှင့် ကျွန်ုပ်တို့၏အင်ဂျင်နီယာများသည် ဆိုက်တွင်ရှိသကဲ့သို့ ရှောင်ရှားရမည့် မှားယွင်းသောလုပ်ဆောင်မှုများကို ရှောင်ရှားရမည့် မြင့်မားသော အဓိပ္ပါယ်ရှိသော အဆင့်ဆင့်ပုံကားချပ်များနှင့် စာသားလမ်းညွှန်ချက်များနှင့်အတူ ပါရှိသည်။ ထို့အပြင်၊ ရှုပ်ထွေးသော စည်းဝေးပွဲများ သို့မဟုတ် စနစ်များအတွက်၊ ကျွန်ုပ်တို့သည် သင့်အော်ပရေတာများအား တပ်ဆင်မှုနည်းပညာများနှင့် ကြိုတင်သတိထားမှုများကို အလိုလိုသိစေပြီး လျင်မြန်စွာကျွမ်းကျင်စေရန် ခွင့်ပြုပေးကာ မသင့်လျော်သောတပ်ဆင်မှုကြောင့် စောစီးစွာပျက်ကွက်နိုင်ခြေကို များစွာလျှော့ချပေးနိုင်သည့်အပြင်၊
လိပ်စာ
No.1 Ruichen Road, Dongliuting Industrial Park, Chengyang ခရိုင်, Chengyang ခရိုင်, Chengao City, Shandaong ခရိုင်, Chengyang ခရိုင်
Tel
အီးမေး