Ruichen Seals ၏အခြေခံဟိုက်ဒရောလစ်တံဆိပ်များသည်အဓိကအားဖြင့်တံဆိပ်ခတ်ခြင်းအမျိုးအစားများ, O-Rings များသည်ထုတ်လုပ်မှုကုန်ကျစရိတ်နှင့်အဆင်ပြေသောအသုံးပြုမှုကြောင့်အမျိုးမျိုးသော dynamic and static တံဆိပ်ခတ်သည့်အခါသမယများတွင်ကျယ်ပြန့်စွာအသုံးပြုကြသည်။ အမေရိကန်ပြည်ထောင်စု၏စံ (Jisb2401) နှင့်နိုင်ငံတကာစံ (ISO 3601/1) နှင့်အပြည်ပြည်ဆိုင်ရာစံ (ISO 3601/1) နှင့်အပြည်ပြည်ဆိုင်ရာစံ (ISO 3601/1) သည် MASE standard (iso 3601/1) သည် MASE standard (iso 3601/1) သည်ပိုမိုသောထုတ်ကုန်စံချိန်စံညွှန်းများများရေးဆွဲခဲ့ကြသည်။ အမျိုးသားစံချိန်စံညွှန်းများသည် GB3452.1 နှင့် GB1235 ဖြစ်သည်။
ကြယ်ပွင့်ပုံသဏ် seal ာန်လက်စွပ်သည် X-shaped ပုံသဏ် with ာန်နှင့်အတူလေးနှုတ်ထားသောတံဆိပ်ခတ်ဖြစ်သည်။ ၎င်းကို X-shaped လက်စွပ်ဟုလည်းခေါ်သည်။ ၎င်းသည် O-Ring အပေါ် အခြေခံ. တိုးတက်မှုနှင့်တိုးမြှင့်မှုတစ်ခုဖြစ်သည်။ ၎င်း၏အပိုင်းအစသည် 568A စံအဖြစ်အမေရိကန်၏ O-Ring နှင့်အတူတူပင်ဖြစ်သည်။ ၎င်းသည် O-Ring ၏အသုံးပြုမှုကိုအခြေခံအားဖြင့်အစားထိုးနိုင်သည်။
Star Rings ၏အားသာချက်များ
O-Rings များနှင့်နှိုင်းယှဉ်လျှင်ကြယ်ပွင့်ကွင်းများသည်ပွတ်တိုက်နှုတ်ခမ်းအကြားချောဆီလွင့်သောအရေခွံကိုဖြစ်ပေါ်စေသောကြောင့်၎င်းတွင်ပွတ်တိုက်ခြင်းနှင့်ပိုမိုနည်းပါးအောင်ခုခံနိုင်မှုလျော့နည်းသွားသည်။ အဘယ်ကြောင့်ဆိုသော် 4 င်း၏ Flash Edge သည် Cross အပိုင်း၏ 0 န်ထမ်းတစ်စိတ်တစ်ပိုင်းတွင်တည်ရှိသောကြောင့်တံဆိပ်ခတ်အကျိုးသက်ရောက်မှုသည်ပိုမိုကောင်းမွန်သောကြောင့်ဖြစ်သည်။ Non-circular Cross အပိုင်းတွင်အပြန်အလှန်ရွေ့လျားမှုတွင်လိပ်ပြာဖြစ်စဉ်ကိုထိရောက်စွာရှောင်ရှားသည်။
Star လက်စွပ်အလုပ်လုပ်ယန္တရား
Star Ring သည် Self-statch-stating sealing element ဖြစ်သည်။ အဆိုပါ radial နှင့် axial တပ်ဖွဲ့များစနစ်၏ဖိအားအပေါ်မူတည်သည်။ ဖိအားများမြင့်တက်လာသည်နှင့်အမျှကြယ်လက်စွပ်၏ပုံပျက်မှုကတိုးပွားလာလိမ့်မည်။
ကြယ်ပွင့်တံဆိပ်ခတ်လက်စွပ်ကိုဘယ်လိုရွေးချယ်ရမလဲ
အကယ်. ရိုးတံနှင့်အပေါက်၏အချင်းကိုလူသိများပါကအောက်ပါစံနှုန်းများအရသင့်တော်သောကြယ်ပုံသဏ် seal ာန်လက်စွပ်ကိုရွေးချယ်ပါ။
1 ။ static တံဆိပ်ခတ်ခြင်းသို့မဟုတ်အပြန်အလှန်တံဆိပ်ခတ်ခြင်း။ ဘာဖြစ်လို့လဲဆိုတော့ Pre-compression မှထုတ်လုပ်သော Pre-compressions-compression of seal-shaped seal-shape လက်စွပ်ကိုလိမ်ခြင်းနှင့်လှိမ့်ခြင်းမှကာကွယ်နိုင်သည်။ (2) Shaft တံဆိပ်ခတ်ခြင်း - ကြယ်ပွင့်လက်စွပ်၏အတွင်းပိုင်းအချင်းသည် 0.2 မှ 0.3 မီလီမီတာထက် 1% ပိုကြီးသည်။ ရလဒ်အနေဖြင့် Seal Ring သည်ပိုမိုရှည်လျားသော 0 န်ဆောင်မှုပေးသည့်ဘဝကိုတပ်ဆင်ရန်နှင့်ပိုမိုရှည်သော 0 န်ဆောင်မှုပေးရန်ပိုမိုလွယ်ကူလိမ့်မည်။
2 ။ လှည့်ပတ်တံဆိပ်ခတ်ခြင်း - ကြယ်ပွင့်လက်စွပ်၏အတွင်းပိုင်းအချင်းသည်၎င်းတံဆိပ်ခတ်ထားသောအချင်းထက် 2 မှ 5% ပိုကြီးသည်။ အဘယ်ကြောင့်ဆိုသော်လှည့်လည်ရွေ့လျားမှုတွင်အသုံးပြုသောအခါ Seal Seal Ring သည်ပွတ်တိုက်ခြင်းနှင့်အပူကိုဖြစ်ပေါ်စေလိမ့်မည်။ ထို့ကြောင့်တံဆိပ်ခတ်လက်စွပ်ကိုချောဆီကိုချောဆီနှင့်ယုံကြည်စိတ်ချစွာအလုပ်လုပ်နိုင်ရန်အတွက်ရိုးတံထက်ပိုကြီးသည့်အတွင်းပိုင်းအချင်းနှင့်အတူကြယ်ပွင့်ပုံစံလက်စွပ်ကိုရွေးချယ်ရမည်။ များသောအားဖြင့်သေးငယ်သည့် Cross-section ပါသောတံဆိပ်ခတ်ထားသောတံဆိပ်ခတ်သည် static sealing ၏လိုအပ်ချက်များကိုဖြည့်ဆည်းပေးနိုင်သည်။ ဆန့်ကျင်ဘက်အနေဖြင့် dynamic seal ကိုဖြည့်ဆည်းရန်ပိုကြီးတဲ့လက်ဝါးကပ်တိုင်နှင့်အတူတံဆိပ်ခတ်လက်စွပ်ကိုရွေးချယ်သင့်ပါတယ်။ မြင့်မားသောဖိအားသို့မဟုတ်ကြီးမားသောကွာဟချက်များ၌ပိုမိုမြင့်မားသောခဲယဉ်းသောရော်ဘာပစ္စည်းများကိုရွေးချယ်ရမည်။ အကောင်းဆုံးနည်းလမ်းမှာမြင့်မားသောဖိအားမြင့်မားသောထုတ်ယူမှုများကိုကာကွယ်ရန် PTFE ထိန်းသိမ်းထားသည့်လက်စွပ်ကိုထည့်ရန်ဖြစ်သည်။
coated o-rand သည် elasticity နှင့်တံဆိပ်ခတ်ခြင်းကိုရော်ထလုန်ဓာတုပစ္စည်းခံမှုနှင့်တံဆိပ်ခတ်ခြင်းကိုပေါင်းစပ်ထားသည်။ ၎င်းသည်ဆီလီကွန်သို့မဟုတ် fluorumubber အတွင်း၌ရေးထားခြင်းနှင့်အတော်လေးပါးလွှာသော Teflon Fep သို့မဟုတ် Teflon PFA Outer အပေါ်ယံပိုင်းတွင်ရေးစပ်ထားသည်။
ပစ္စည်း: Teflon Fep နှင့် Teflon PFA သည်မရှိမဖြစ်လိုအပ်ပါသည်။ သက်ဆိုင်သောအပူချိန် Teflon Fep Shell: -60 ℃ ~ ~ 205 ℃ teflon pfa shell: -60 ℃ ~ 260 ℃ teflon pfa shell: -60 ℃ ~ 260 ℃ကိုအချိန်တိုတောင်းသောအချိန်အတွက် သုံး. အသုံးပြုနိုင်သည်။
1 ။ ရောစပ်ဓာတုပစ္စည်းများအားလုံးအတွက်သင့်တော်သောဓာတုခုခံမှု
2 ။ ကျယ်ပြန့်သောအပူချိန်အကွာအဝေး
3 ။ ကောင်းသောချုံ့ခုခံ
4 ။ ဆန့်ကျင်ဆန့်ကျင်
5 ။ ကောင်းသောဆန့်ကျင်ရောင်ရမ်းခြင်း
6 ။ မြင့်မားသောဖိအားခုခံ
7 ။ အစွမ်းထက်တဲ့တံဆိပ်ခတ်တာရှည်ခံမှုနှင့်သက်တမ်းရှည်ခံဘဝ
လျှောက်လွှာ - Pumps နှင့် Valves, Pumfers, စက်ပိုင်းဆိုင်ရာတံဆိပ်များ, စစ်ထုတ်ခြင်းများ, ဖိအားများ, ဖိအားရေယာဉ်များ, အပူလဲလှယ်ခြင်းများ,
လျှောက်လွှာစက်မှုလုပ်ငန်းများ - ဓာတုစက်မှုလုပ်ငန်း, လေယာဉ်ထုတ်လုပ်မှု, ရေနံနှင့်ဓာတုသယ်ယူပို့ဆောင်ရေးနှင့်သန့်စင်ရေးလုပ်ငန်း,
တံဆိပ်ခတ်ကွင်းများအတွက် installation ညွှန်ကြားချက်များ
1 ။ တံဆိပ်ခတ်ထားသောကွင်းများတပ်ဆင်ထားသည့်သို့မဟုတ်ဖြတ်သန်းသွားသောအစိတ်အပိုင်းများသည်ချောမွေ့ခြင်း, 0 န်ဆောင်မှုများ, အတွင်းတွင်း၏ကြမ်းတမ်းသည်1.6μသို့ရောက်ရှိသင့်ပြီးရိုးတံ၏ကြမ်းတမ်းသည် 0.8um သို့ရောက်သင့်သည်။
2 ။ Sealing Ring နှင့်သက်ဆိုင်ရာအစိတ်အပိုင်းများအဆက်အသွယ်၏မျက်နှာပြင်ကိုချောဆီကိုချောဆီမီးဖိုင်ထားစေရန်သန့်ရှင်းသောအလင်းရောင်ဆီသို့မဟုတ်အမဲဆီကိုသုံးပါ။
3 ။ ရိုးတံပေါ်တံဆိပ်ခတ်ကွင်းကိုတပ်ဆင်ရန်ခက်ခဲပါက၎င်းကိုချဲ့ထွင်ရန်မိနစ်အနည်းငယ်ကြာရေပူထဲထည့်ပါ။ ဤသည်ပျော့ပြောင်းပြီးတိုးချဲ့ o-ring install လုပ်ဖို့ပိုမိုလွယ်ကူသည်။ ပူပြင်းသည့်အချိန်တွင် O-Ring ကို install လုပ်ပါ။ အရွယ်အစားသည်၎င်း၏အရွယ်အစားကိုအအေးပြီးနောက်မူရင်းအရွယ်အစားသို့ပြန်သွားလိမ့်မည်။
4 ။ O-Ring ကိုအကြမ်းမဖက်စေပါ,
အဆိုပါ coated o-ring ၏အကြံပြု compression သည်အောက်ပါအတိုင်းဖြစ်သည် -
static sealing state: 15% -20%
Dynamic Sealching State: 10% -12%
pneumatic state: 7% -8%
အမှန်တကယ်ချုံ့မှုသည်လုပ်ငန်းခွင်အခြေအနေများ, အထူးသဖြင့်တံဆိပ်ခတ်ထားသောအလုပ်လုပ်သည့်ဖိအားနှင့်အခြားအချက်များပါ 0 င်သင့်သည်။
ထုတ်ကုန်အင်္ဂါရပ်များနှင့် application များ:
| o-ring စွမ်းဆောင်ရည် parameter သည်စားပွဲတင် |
|
|
|
|
static seal | Dynamic Seal |
| အလုပ်လုပ်ဖိအား | လက်စွပ်ကိုမထိန်းသိမ်းဘဲ 20mpa max လက်စွပ်နှင့်အတူ 40 MPA Max, အထူးထိန်းသိမ်းထားသည့်လက်စွပ် 200mpa max | လက်စွပ်ကိုမထိန်းသိမ်းဘဲ 5MPA MAX လက်စွပ်ကိုထိန်းသိမ်းထားခြင်းနှင့်အတူပိုမိုမြင့်မားဖိအားနှင့်အတူ |
| အရှိန် | 2M / s max ကိုလှည့်ခြင်း 0.5M / s max ကိုအပြန်အလှန် | |
| အပူအအေး | အထွေထွေအသုံးပြုမှု - -30 ~ + 110, အထူးရော်ဘာ: -60 ~ + 250, Rotating: -30 ~ + 80 | |
| အလယ်အလတ်ဖြစ်သော | ပစ္စည်းများအပိုင်းကိုကြည့်ပါ | |
| စံဖြစ်သော | o-ring Cross-Section Diameter |
|
|||||
| 568 အဖြစ်အမေရိကန်စံ ဗြိတိသျှစံ Bs 1516 | 1.78 | 2.62 | 3.52 | 5.33 | 6.99 | - | |
| ဂျပန်စံသူသည် B2401 | 1.9 | 2.4 | 3.1 | 3.5 | 5.7 | 8.4 | |
| နိုင်ငံတကာစံသတ်မှတ်ချက် IO 3601/1 ဂျာမန်စံညစာ 3771/1 တရုတ်စံ CB 3452.1 | 1.8 | 2.65 | 3.55 | 5.30 | 7.00 | - | |
| ပိုမိုနှစ်သက်သောမက်ထရစ်အရွယ်အစား | 1.0 | 1.5 | 2.0 | 2.5 | 3.0 | 3.5 | |
| 4.0 | 4.5 | 5.0 | 5.5 | 6.0 | 7.0 | ||
| 8.0 | 10.0 | 12.0 |
|
|
|
||
| 568 အဖြစ်အမေရိကန်စံ (900 စီးရီး) | 1.02 | 1.42 | 1.63 | 1.83 | 1.98 | 2.08 | |
| 2.21 | 2.46 | 2.95 | 3.00 |
|
|
|
|
| အက်ပလီကေးရှင်းကွင်းသည်အလွန်ကျယ်ပြန့်သည်။ အပူချိန်, ဖိအားနှင့်အလတ်စားအရမှန်ကန်သောအကြောင်းအရာကိုရွေးချယ်ပါ။ Star လက်စွပ်ကိုပေးထားသောလျှောက်လွှာတစ်ခုသို့လိုက်လျောညီထွေဖြစ်အောင်လုပ်ထားသည့်အတိုင်းအလုပ်လုပ်သည့် parameters များကိုအပြန်အလှန်အကန့်အသတ်များကိုထည့်သွင်းစဉ်းစားသင့်သည်။ လျှောက်လွှာအကွာအဝေးကိုဆုံးဖြတ်သောအခါအပူချိန်အမြင့်ဆုံးအပူချိန်နှင့်လည်ပတ်မှုသံသရာနှင့်လည်ပတ်မှုသံသရာကိုထည့်သွင်းစဉ်းစားရမည်။ applications များအလှည့်အပြောင်းများတွင်ပွတ်တိုက်အပူအပူချိန်ကြောင့်အပူချိန်မြင့်တက်မှုကိုလည်းထည့်သွင်းစဉ်းစားရမည်။ | |||||
| နည်းပညာဆိုင်ရာ parameters တွေကို | Dynamic Seal | static seal |
|
||
| အပြန်အလှန်ရွေ့လျားမှု | လည်ပတ်ရွေ့လျားမှု |
|
|||
| အလုပ်လုပ်ဖိအား (MPA) | လက်စွပ်ထိန်းသိမ်းထားခြင်းနှင့်အတူ | 30 | 15 | 40 |
|
| လက်စွပ်ထိန်းသိမ်းထားခြင်းမရှိဘဲ | 5 | - | 5 |
|
|
| မြန်နှုန်း (M / S) | 0.5 | 2.0 | - |
|
|
| အပူချိန် (℃) | အထွေထွေရံဖန်ရံခါ: -30 ℃ ~ + 110 ℃ |
|
|||
| အထူးပစ္စည်းများ - -60 ℃ ~ + 200 ℃ |
|
||||
| အလှည့်အခါသမယ: -30 ℃℃ + 80 ℃ |
|
||||
ကြယ်ပွင့်ပစ္စည်း:
ဤပစ္စည်းသည်ယေဘုယျအားဖြင့် Shaw A70 Nitrile ရော်ဘာ NBR ဖြစ်သည်။
coated o-ring:
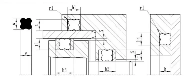
encapsulated o-ring ၏ groove ၏ groove ၏ slowe diagram
encapsulated o-ring ၏ groove ၏ blensension ၏စားပွဲပေါ်မှာ (အကြံပြု)
| ဝါယာကြိုးအချင်း | A (MM) | ခ (မီလီမီတာ) | ||
| static seal | Dynamic Seal | အဆုတ်ရောင်တံဆိပ်ခတ် | ||
| 1.78 | 2.36 / 2.49 | 1.42 / 1.52 | 1.55 / 1.60 | 1.63 / 1.65 |
| 2.62 | 3.56 / 3.68 | 2.08 / 2.21 | 2.29 / 2.36 | 2.39 / 2.44 |
| 3.53 | 4.75 / 4.88 | 2.82 / 3.00 | 3.10 / 3.18 | 3.22 / 3.28 |
| 5.33 | 7.14 / 7.26 | 4.27 / 4.52 | 4.67 / 4.80 | 4.90 / 4.95 |
| 6.99 | 9.63 / 9.65 | 5.59 / 5.89 | 6.15 / 6.27 | 6.43 / 6.48 |
Ruichen Seal တံဆိပ်ခတ် Ptfe တံဆိပ်တပ်ဆင်ခြင်းလမ်းညွှန်
ⅰ။ တပ်ဆင်ခြင်းလမ်းညွှန်
1 ။ တံဆိပ်ခတ်ခြင်းကို pretoaded ဘက်တွင်တပ်ဆင်ထားပြီးဖိအား ဦး တည်ချက်ကိုရင်ဆိုင်နေရရမည်။
2 ။ ဆလင်ဒါခန္ဓာကိုယ်နှင့်ပစ္စတင်လှံတံကိုကျွန်ုပ်တို့၏ကုမ္ပဏီ၏နမူနာများ၏လိုအပ်ချက်များကိုဖြည့်ဆည်းပေးရန် Push-in Chamfer ဖြင့်ပြုလုပ်ရမည်။
3 ။ ချွန်ထက်သောအစွန်းများသည် burrs နှင့် rounded သို့မဟုတ် chamfered ရှိရမည်။
4 ။ တံဆိပ်ခတ်ခြင်းများကိုဖုံးအုပ်ထားသင့်သည်။
5 ။ ဖုန်မှုန့်, အပျက်အစီးများသို့မဟုတ်အခြားနိုင်ငံခြားအမှုန်များကိုဂရုတစိုက်ဖယ်ရှားရမည်။
6 ။ ချွန်ထက်သောအနားနှင့်အတူ tools တွေကိုအသုံးမပြုသင့်ဘူး။
7 ။ PTFE တံဆိပ်ခတ်ကွင်းများသည်အပူဆီသို့မဟုတ်ရေတွင်တိုးချဲ့ရန်ပိုမိုလွယ်ကူသည် (80 ~ 120 ဒီဂရီခန့်) နှင့်သူတို့၏မူလပုံစံကိုပြန်လည်ထူထောင်ရန်လွယ်ကူသည်။
8 ။ တံဆိပ်ခတ်ထားသောအပေါက်ကိုဖြတ်သန်းသွားရန်လိုအပ်ပါကအပေါက်၏ chamfer ကိုနှုတ်ခမ်းကိုမထိခိုက်စေရန်နှုတ်ခမ်းကိုနှုတ်ခမ်းကိုနှုတ်ခမ်းကိုတွန်းအားပေးရန်ပလတ်စတစ်တုတ်တစ်ချောင်းကိုအသုံးပြုသင့်သည်။ ဆလင်ဒါ၏တွင်းများကို chamfered သင့်သည်။ ပုံ 3)
ⅱ။ တပ်ဆင်ခြင်းနည်းလမ်း
ပွင့်လင်း (split) groove groove ကိုကိရိယာများမပါဘဲ install လုပ်နိုင်ပါတယ်။
တံခါးပိတ် Groove ပစ္စမန်းလှံတံများကိုတပ်ဆင်ခြင်း (ပုံ 1)
1 ။ သန့်ရှင်းခြင်းနှင့်ရေနံစိမ်းများအားလုံးတံဆိပ်ခတ်များ, တံဆိပ်ခတ်ခြင်းနှင့်တပ်ဆင်ခြင်းကိရိယာများ။
2 ။ ရော်ဘာလက်စွပ်ကို Groove သို့နေရာချပါ (မကြည့်ပါနှင့်) ။
3 ။ PTFE SEST ကိုကျောက်ကပ်ပုံသဏ် into ာန်ကိုချုံ့ခြင်းမရှိဘဲကျောက်ကပ်ပုံသဏ် into ာန်ထဲသို့ချလိုက်ပါ။ compressed ptfe seal ကို groove ထဲသို့ချထားပါ။
4 ။ Recovery Mandrel ကိုတံဆိပ်ခတ်။ တံဆိပ်ကိုညင်ညင်သာသာဖွင့်ပါ။ ၎င်းကို 1 မိနစ်ခန့် ထား. Mandrel ကိုဖယ်ရှားပါ။ installation ပြီးပြည့်စုံသည်။
တံခါးပိတ်တွင်ပစ္စတင်တံဆိပ်များတပ်ဆင်ခြင်း (ပုံ 2)
1 ။ သန့်ရှင်းခြင်းနှင့်ရေနံစိမ်းများအားလုံးတံဆိပ်ခတ်များ, တံဆိပ်ခတ်ခြင်းနှင့်တပ်ဆင်ခြင်းကိရိယာများ။
2 ။ ရော်ဘာလက်စွပ်ကို Groove သို့နေရာချပါ (မကြည့်ပါနှင့်) ။
3 ။ PTFE တံဆိပ်ခတ်ကွင်းကိုလမ်းညွှန်လက်ပေါ်သို့တွန်း တင်. တံဆိပ်ခတ်ကွင်းကိုဆန့်ပါ။
4 ။ ပစ္စတင် groove သို့ဆန့်ထားသောတံဆိပ်ခတ်ကွင်းကိုတွန်းတင်ပါ။
5 ။ ပြင်ဆင်ချက်လက်ကိုတံဆိပ်ခတ်လက်စွပ်သို့တွန်းတင်ပြီးတစ်ချိန်တည်းတွင်ပြင်ဆင်ချက်လက်ကိုလှည့်ပါ။ 1 မိနစ်ခန့် ထား. တပ်ဆင်ခြင်းပြီးဆုံးပြီးနောက်ဆုံးမပဲ့ပြင်သည့်လက်ကိုဖယ်ရှားပါ။
မှတ်စု: 1 ။ ကျွန်ုပ်တို့၏ကုမ္ပဏီ၏နမူနာတွင်ဖော်ပြထားသောထုတ်ကုန်ကိုပိတ်ထားသော groove တွင်မတပ်ဆင်နိုင်ပါကကျွန်ုပ်တို့၏ကုမ္ပဏီကိုတိုင်ပင်ပါ။
2 ။ အထက်ပါ PTFE တံဆိပ်များကိုတပ်ဆင်ခြင်းသည် PTFE တံဆိပ်များနှင့်မသက်ဆိုင်ပါ။ လိုအပ်ပါကကျွန်ုပ်တို့၏ကုမ္ပဏီနှင့်တိုင်ပင်ပါ။



























လိပ်စာ
No.1 Ruichen Road, Dongliuting Industrial Park, Chengyang ခရိုင်, Chengyang ခရိုင်, Chengao City, Shandaong ခရိုင်, Chengyang ခရိုင်
Tel
အီးမေး